__________________________________________________________________________
Scholz ROCKMAN© History
The Scholz ROCKMAN© is an 80's Headphone Amplifier that allowed guitarists to rock at all hours of the day/ night in the comfort of their own head!... It went through many iterations...
ROCKMAN© MODEL I - CIRCA 1982
ROCKMAN© MODEL II - CIRCA 1983
The mod outlined here is based on the ROCKMAN© MODEL X-100 - CIRCA 1984


The following preamp modes were possible...
DISTORTION
EDGE
CLEAN 1
CLEAN 2
The user could add the following Effects to the above preamp modes...
Chorus separately
Echo separately
Echo and Chorus together
The user could not turn off both the Chorus and Echo to get the dry Preamp sound alone... So I purchased an X-100 to try and modify the unit for infinite tweakability!
__________________________________________________________________________
The ROCKMAN© sound had been used in countless studio recordings soon after its inception... there were companies that tried to help musicians incorporate their ROCKMAN© into live performance by providing footswitch control of the ROCKMAN© functions.
The most ambitious product, although short-lived, was the ROCK BOX© developed by a third party company...

This solution required you to send your ROCKMAN© to the manufacturer for a major modification after which had the ROCKMAN© residing inside of the ROCK BOX© Foot-Controller.
The ROCK BOX© allowed Switching of the preamp functions and also allowed the independant switching of the Chorus and Echo.
__________________________________________________________________________
Modifications
Before getting deep into modifying the X-100 and "rack-i-fying" it, since the ROCKMAN© was over 30 years old, I needed to replace the unit's electrolytic capacitors, clean and re-lube all of the switches and connectors and re-touch any 'iffy' solder joints.


Once I was happy with the sound quality and reliability I started to disassemble the X-100 to begin the modification
__________________________________________________________________________
STAGECUE/ROCKMAN© X-100 CUSTOM IMPLEMENTATION
The Custom X-100 Rack incorporates all of the following features...
19 " Rackmount Chassis

Integrated Regulated DC power supply with Standard 110 VAC Power Inlet
& Power ON/OFF Switch
Power LED Indicator

Front and Rear Guitar INPUT
& Input GAIN Control

Push-button switches to select 1 of 4 Preamp modes
& Compressor THRESHOLD control for CLN 1 and CLN 2 Preamp modes

Push-button switches to select Echo and Chorus On/Off independantly,
Chorus MIX & RATE Controls
& Echo MIX and TIME Controls

Push-button switch to select a preset MIN. Level
& Output LEVEL control

Rear Panel FX LOOP SEND Jack and Stereo RETURN Jacks

Rear Stereo LINE Outputs

FOOTSWITCH IN to allow remote access of all Front Panel Functions
& MIDI IN to allow selection of all Footswith Functions over MIDI CC

Custom 7 button Footswitch to parallel all Rack Front-Panel Switches

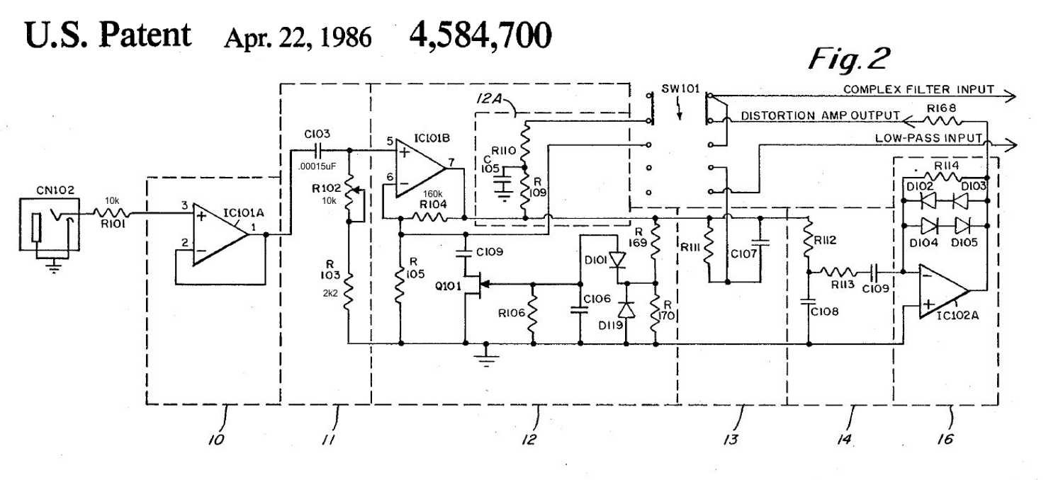
All of the above features are possible due to deep circuit analysis of the original ROCKMAN© patent schematics which were almost identical to the actual production ROCKMAN©

My Project was inspired by JC Maillet's below drawing...
more info here... JC Maillet Rockman Mods

I went way overboard and added many tweaks and external controls to make the unit infinitely adjustable.




All of the above drawings diagrams and pictures all rights reserved except where noted.
Please request for permission before copying.
©2014 J. LESKOVAR
_____________________________________________________________